76 Jeep Cj5 Distributor Wiring

Gm made a lot more vehicles than jeep ever did and parts tend to be cheaper when they are massed produced.
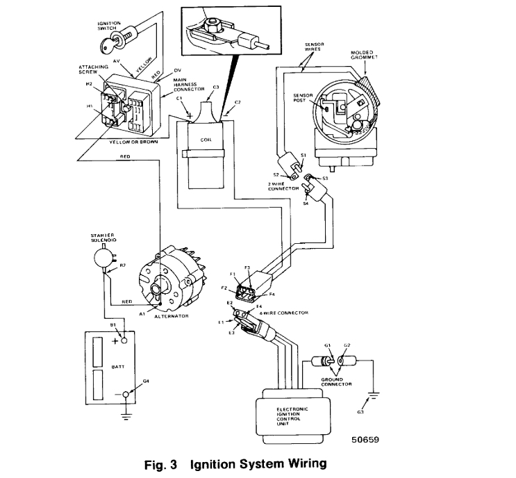
76 jeep cj5 distributor wiring. Around 10 this wiring pigtail keeps you from having to cut into the distributor wiring or the msd wiring and it keeps the distributor pick up coil polarity correct. Jeep wiring diagrams 76 77 cj the following wiring diagram files are for 1976 and 1977 jeep cj. Click to zoom in or use the links below to download a printable word document or a printable pdf document. The cj5 introduced in 1954 had a 30 year production run.
Swapping the entire distributor is easier than trouble shooting coil ignition module and wiring if you have a spark problem on the trail. Jeep 1 76 cj5 t18 twinstick dana 20 lock right in front yukon. Need a little help here. 1976 jeep cj5 authorized dealer 100 satisfaction guaranteed 5 out of 5 stars.
76 to 85 ford dura spark module premium p n 76 to 85 ford dura spark module. Painless wiring 10150 21 circuit direct fit harness fits 76 86 cj5 cj7 scrambler fits. We hope the wiring diagram shown here can help you with your wiring work on your jeep cj models the parts you will see inside is like. Cj5 partsreplacement cj5 parts and accessories for 1955 1983 jeeps.
Ignition lock switch jeep cj 1976 1986 jeep wrangler 1987 1995 jeep sj j series 1977 1986 jeep cherokee 1984 1994 with tilt steering column 3250575 17 95. Benjamin aeschliman 36 204 views. Jeep 1 76 cj5 t18 twinstick dana 20 lock right in front yukon. Marker reflection electronic ignition pack park signal lamp headlamp horn low beam indicator dimmer switch stop lamp switch cigar lighter windshield wiper washer light windshield wiper washer.
Pertronix makes a good electronic ignition conversion for older jeep four six and eight cylinder points type distributors but check to make sure your distributor isn t worn out before. The longest of any jeep vehicle. Based on the korean war m 38a1 603 303 cj5 s were produced between 1954 and 1984. Ignition upgrade for jeep 304 360 cid v 8 amc engines.